
当大家还沉浸在新势力造车的酷炫外形以及车辆不断智能化的洗礼当中时,最近一辆非常酷炫的飞行汽车亮入小编的眼中,据称是吉利汽车旗下的Terrafugia特力飞行汽车。
吉利公布了其两座飞行汽车Transition量产车型的产品细节。第一款产品Transition在2018年10月份左右接受预订,首批用户将主要针对美国市场,2019年完成交付。据称该飞行汽车已经进入量产阶段,价值为130W左右,续航达到640KM。吉利目标在2020年实现产销300W左右。该飞机还具备陆空双模式,变身只要40秒。

谍照显示,该飞行汽车体型十分轻巧,总长6.02m、宽2.3m、高1.98m,车身采用轻量级的铝材质打造,整备质量仅有440kg,相比一般的轿车要轻太多了,同时有效载重可达210kg。它在陆地上作为一台电动车来行驶,搭配磷酸铁锂电池,采用吉利提供的电驱动技术,最大行驶速度为110km/h。
小编扒了扒吉利收购的这家国外公司的背景。成立于2006年的Terrafugia在2009年就发布了其第一款飞行汽车 Transition,并于3年后发布该车的迭代版,可实现空中续航640km,最高时速160km/h,机翼可折叠、可自动飞行等。
2017年11月,吉利集团全资收购了该公司。此前,吉利方面曾表示,Terrafugia公司的研发试制工作将保留在美国,生产或将放在中国。

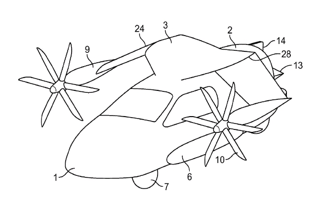
小编忍不住好奇之心,扒了扒关于这家公司的相关专利。特力飞公司在中国申请专利使用的名称是特力飞车股份有限公司,于2014年在中国申请了一篇专利,该篇专利名为具有垂直起飞和固定翼巡航能力的组合的飞行/行驶车辆,专利于2015年12月2号公开,目前公开号为CN105121188A,该专利目前已经授权。在针对选用Terrafugia公司名称的专利搜索的过程中,小编发现,该公司专利数量不算太多,但都是针对飞行车辆相关的专利,从2007年开始申请专利到2017年,目前共有18篇专利,合并同族之后,还有10篇专利,其中,在美国的申请有6篇,其中有4篇还在审中,有两篇专利进入授权状态,小编列出了Terrafugia公司申请的相关专利的情况供大家进行参考,并筛选出其中有特点的几篇专利跟大家解读这辆飞行汽车的特点所在。
下表列出了Terrafugia公司的相关飞行汽车的专利。


专利技术亮点1:可折叠机翼飞机
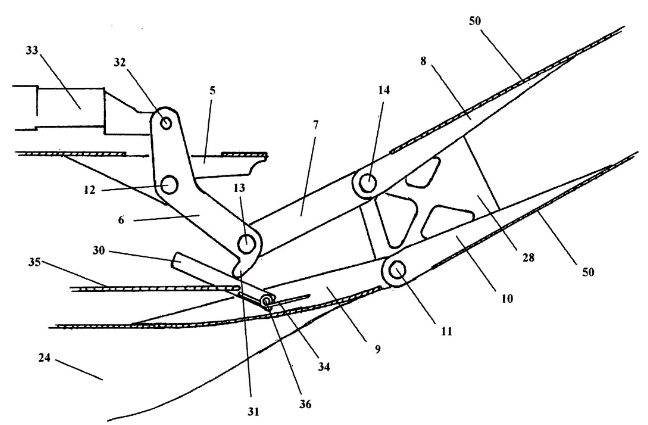
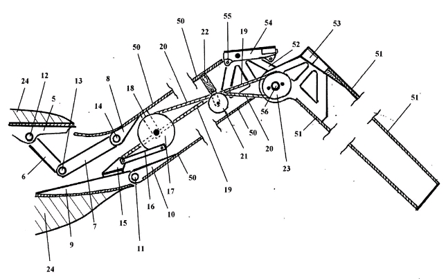
有多篇专利都涉及到这架飞行车辆的折叠翼,其中比较典型的包括折叠翼根部结构的专利US12177862,该篇专利主要是针对折叠式飞机的翼的改进,且是一篇从其他公司转让过来的专利,主要是为了方便将飞行器的翼进行收纳,并可以进行双向折叠,以更紧凑,更少体积来收纳机翼的情况,从而方便车辆上路。

以及涉及折叠翼锁定机构的专利US12177849,该篇专利主要针对双折叠进行改进,主要提高了在该技术通过降低车辆的侧边区域在道路行驶中,提高了高风压中的安全条件;双折叠翼可以具有更大的跨度,允许可上路飞行器配合的配置在标准汽车停车空间。

上述的相关专利都是针对可飞行车辆的折叠翼的具体结构进行的相关申请。感兴趣的小伙伴可以戳相关专利号进行更细致的研读。
专利技术亮点2:折叠机翼飞机和集成缓冲器和照明
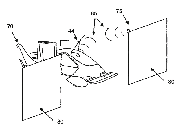
其中涉及的相关专利为WOUS07000256,主要针对车辆包括的可变形的气动缓冲器,嵌入道路-安全道路-安全汽车照明和拍照板。车辆可以被设计用于进行相关的光运动飞机。

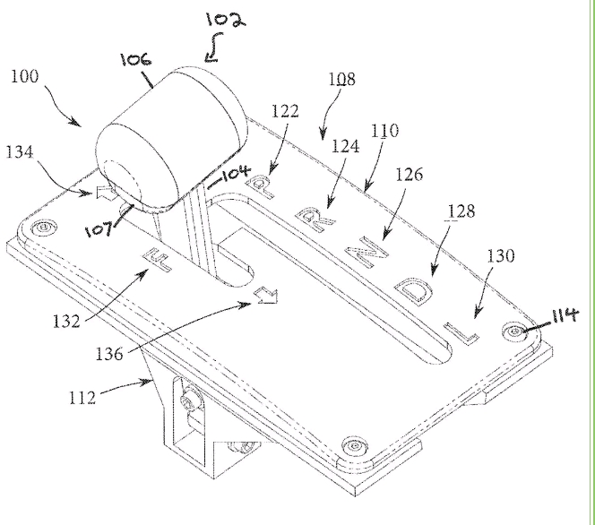
专利技术亮点3:电子换挡组建用于双模式飞机及行驶车辆(该篇专利在中国有相关的同族申请,2019.1.4公开)
其中涉及的相关专利为US20170299049A1,该篇专利主要针对可飞行及行驶的车辆的两种形式,采用电子换挡组建来进行实现,包括调节为飞行模式的情况以及调节为车辆行驶模式的情况的两种形式是如何具体进行实现的。

专利技术亮点4:组合与垂直起飞和飞/驱动车辆固定-翼巡航能力(该篇专利在中国有相关的同族申请)
其中涉及该技术的相关专利为WO2014144001A2,该篇专利主要针对组合的飞行-行驶车辆,该车辆具有混合动力推进系统架构,集成了飞机的折叠翼以及车辆的独特的构造以及系统架构形式,并给出了多种实施例的实现方式,并且在实现这些新功能的基础上还具备高安全性及可靠性的运输模式。

从目前Terrafugia公司的专利申请来看,Terrafugia公司申请的专利并不多,但针对自己重点的几项技术,都进行了多个国家的申请,尤其是进行了美国、WIPO、欧洲等国家的专利申请,在中国也针对其中的相关技术进行了相关的专利申请。
据媒体的消息声称,该款车辆有望明年在美国进入市场并开始售卖,小编也大胆的设想下,在不久的将来,拥堵的交通情况催化我国也出现这种飞行类车辆的出现,来缓解交通的压力。
大家有想了解的车型或者技术相关的专利分布的情况,可以在文末留言,小编以后会选取大家感兴趣的企业或者点进行相关专利的分析解读。
本文作者:王军雷、吕惠
来源:汽车知识产权 (公众号:AutoIP)