意外出圈?鸿星尔克已在全球100多个国家拥有商标专用权
时间: 2021-08-13 12 北京康信知识产权代理有限责任公司 康信 阅读量:

近日,鸿星尔克、汇源果汁、蜜雪冰城等一些民族企业被频频送上热搜。

 

这些民族企业可能自身“并不富裕”,却为河南抗洪救灾捐出巨资,这份在国家危难面前的大义让我们一次次破防。


有网友形象的比喻到,这些民族企业“就像老一辈人,这个不舍得花那个不舍得用,一听说国家有难马上把自己攒的钱全部捐出来”。


这些品牌承载着我们的民族情感,兢兢业业几十载,除了物美价廉的产品让我们称赞之外,它们在商标保护方面也极为用心。


以鸿星尔克为例。在2000年其成立之初就进行了相关商标申请,包括“鸿星尔克”、“鸿星”、“尔克”等商标。

 

图片


近一年,鸿星尔克申请了60多枚商标,从中我们也能看出其积极设计新产品、不断发展市场的进取态势。


图片

图片来源:康信IP平台


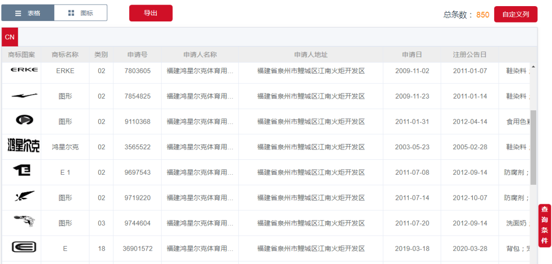
截止目前,鸿星尔克公司共申请了800多枚商标,几乎覆盖全品类。


图片

图片来源:康信IP平台

 

而鸿星尔克精细的商标保护策略,也为避免他人攀附商标价值、破坏商誉做好了保障。


康信IP平台查询数据显示,多家公司及个人申请的“鸿星尔克”、“鸿星”等涉嫌傍名牌的商标已被无效。

 

图片

图片

图片来源:康信IP平台


除在国内进行了良好的商标布局外,鸿星尔克在海外国家的商标注册也不含糊。

据鸿星尔克官网信息显示,其在全世界拥有店铺7000余家,产品行销欧洲、东南亚、中东、南北美洲、非洲等国家和地区,在全球100多个国家拥有商标专用权,为其走出国门、占领海外市场铺好了道路。


图片
图片
图片

图片
图片

图片来源:康信IP平台


鸿星尔克作为一家兢兢业业的企业,能够出圈并不意外。对于始终保持社会责任感的良心企业,“野性消费”是我们的回馈,也是我们支持民族品牌的最好方式。


与此同时也要看到,鸿星尔克能够经营数十载并获得广阔的国内外市场,必然离不开其对品牌保护的重视,相信,这也值得很多品牌学习。


以上是对鸿星尔克商标布局情况的简单介绍,如您想要了解更多诸如汇源果汁、蜜雪冰城等民族企业的全球商标布局情况,欢迎进入康信IP平台(service.kangxin.com)自助查询~


目前康信IP平台支持中国大陆、中国香港、中国澳门、欧盟、美国、英国、南非、马来西亚、新加坡、印度、印度尼西亚、加拿大、墨西哥、新西兰、挪威、菲律宾、丹麦、芬兰、匈牙利、奥地利、阿根廷、爱尔兰、希腊、比荷卢、瑞士、冰岛、智利、瑞典等重要出口国家/地区多种状态(申请中、已公告、注册、无效、驳回复审、已异议等)的文字商标查询;中国大陆、中国香港、欧盟、美国、菲律宾、马来西亚支持图形商标检索,通过“以图查图”提高商标检索效率,使图形商标检索结果更精准,查找更便捷。


>>>进入康信IP平台

关键词: 康信IP平台,知识产权,商标查询,商标检索,康信
康信: 北京康信知识产权代理有限责任公司于1994年成立,是一家能够提供全方位知识产权法律服务的机构,总部设在北京,在天津、青岛、西安、武汉、杭州、广州、德国、美国、日本设有分支机构。康信现有员工510余名,其中包括经验丰富的律师、专利代理师、商标代理人和专业技术人员410余名。康信公司的PCT申请代理量连续几年跻身全球PCT申请事务所前五强。
咨询电话: 010-56571588
closeBox_03
返回顶部图标 分享

关注我们

WeChat