又一热门商标被抢注!面对商标抢注我们能做些什么?
时间: 2021-06-21 09 北京康信知识产权代理有限责任公司 唐锐 阅读量:

前不久,由张哲瀚和龚俊主演的古装武侠剧《山河令》,获得了很多网友的喜爱,该剧的官方微博粉丝人数达到80多万,山河令超级话题粉丝人数74.3万人,阅读量84.9亿,帖子37.4万。

 

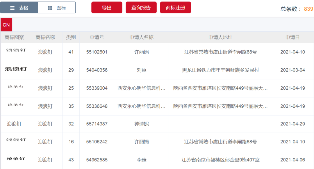
网友根据两位男主在剧中的角色性格给其组合取名为“浪浪钉”。正是由于该剧的热播,导致其组合的名称“浪浪钉”被第三方申请注册商标


刘臣于2021年3月4日向国家知识产权局提交了“浪浪钉”商标的注册申请,该商标指定使用的商品为“肉;加工过的坚果;鱼肉干;肉罐头;果肉;干食用菌;干蔬菜;蛋;豆腐制品;食用油”,所在类别为第29类。目前该商标仍在审查中。


图片
图片来源:康信IP平台


随后又有多个申请人申请该商标


图片

图片来源:康信IP平台


近年来,由于商标申请的便利性逐渐提高,商标抢注行为也越来越猖獗,不仅导致真正的商标权利人无法获得其商标权,同时还扰乱了正常的商标注册秩序,造成商标审查的工作量加大,浪费了行政审查资源。

 

针对商标抢注行为,国家知识产权局于2021年3月24日,在官方网站发布了《国家知识产权局开展打击商标恶意抢注行为专项行动助力营造良好创新环境和营商环境》的文章。


图片


在文章中重点指出国家知识产权局自2021年3月起,集中开展打击商标恶意抢注行为专项行动,严厉打击以下7类图谋不正当利益、扰乱商标注册管理秩序、造成较大不良社会影响的恶意抢注情形:


⏩ 恶意抢注国家或区域战略、重大活动、重大政策、重大工程、重大科技项目名称的;


⏩ 恶意抢注重大自然灾害、重大事故灾难、重大公共卫生事件和社会安全事件等突发公共事件相关词汇、标志,损害社会公共利益的;


⏩ 恶意抢注具有较高知名度的重大赛事、重大展会名称、标志的;


⏩ 恶意抢注行政区划名称、山川名称、景点名称、建筑物名称等公共资源的;


⏩ 恶意抢注商品或服务的通用名称、行业术语等公共商业资源的;


⏩ 恶意抢注具有较高知名度的公众人物姓名、知名作品或者角色名称的;


⏩ 恶意抢注他人具有较高知名度或者显著性较强的商标或者其他商业标志,损害他人在先权益的。


由于我国是采用申请在先原则,对于真正的商标申请人来说,在自己创造设计了相关商标时,请第一时间进行申请以取得较早申请日。


针对商标抢注行为,商标权利人可以使用康信IP平台(service.kangxin.com)建立“商标监控”。


康信IP平台“商标监控”,可以根据客户预先设置的监控条件(国家、文字或图形商标、类别范围等)在商标局每期的公告商标中进行检索监控,查找相同近似商标。如在监控报告中发现疑似侵权商标,客户可以在异议期间内及时向国家知识产权局提交商标异议申请,阻止侵权商标注册,消除潜在危害。


若未进行商标监控,导致错过了异议的时机,商标权利人可以在商标注册后及时对其提起无效宣告,或者在该商标注册满三年之后向国家知识产权局提交撤销连续三年不使用注册商标申请,维护自己的商标权益。


但提起无效宣告和撤三要花费大量的时间和精力, 不如商标监控来的直接和有效。


康信IP平台的“商标监控”功能运用大数据检索监控技术及AI识图技术,不仅可以实现文字商标监控,还可以实现图形商标以及艺术化字体商标的监控,“以图查图”,满足您对图形商标监控需求!


除可进行中国的商标监控外,欧盟、美国、菲律宾、马来西亚、法国、英国、日本、韩国、南非、新加坡、澳大利亚、加拿大、瑞士、阿根廷、奥地利、巴西、比荷卢、智利 、德国、丹麦、西班牙、芬兰 、希腊、匈牙利、印度尼西亚、爱尔兰、印度、冰岛、意大利、墨西哥、挪威、新西兰 、葡萄牙、瑞典、土耳其等国家/地区也可以实现商标监控


康信IP平台基于康信27年丰富的行业经验、卓越的法律服务团队,使用前沿科技,除商标监控功能外,还覆盖了从商标查询、注册、变更、转让、续展,到异议、撤三、统计分析、商标地图等功能,能够为客户提供全球知识产权智能自助一站式解决方案!


>>进入康信IP平台

关键词: 商标抢注,商标注册,商标监控,商标权,商标申请,商标,康信知识产权
康信: 北京康信知识产权代理有限责任公司于1994年成立, 是一家能够提供全方位知识产权法律服务的机构,总部设在北京,在西安、德国、美国、日本设有办事处。康信现有员工400余名,其中包括经验丰富的律师、专利代理人、商标代理人和专业技术人员220余名。康信公司的PCT申请代理量位居全球第四,中国区第一。
咨询电话: 010-56571588
closeBox_03
返回顶部图标 分享

关注我们

WeChat