“特朗普一拜登”竟被注册成商标?特朗普商标保护意识太强悍!
时间: 2020-11-06
北京康信知识产权代理有限责任公司
蔡霞
阅读量:
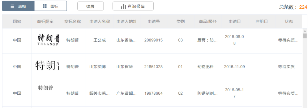
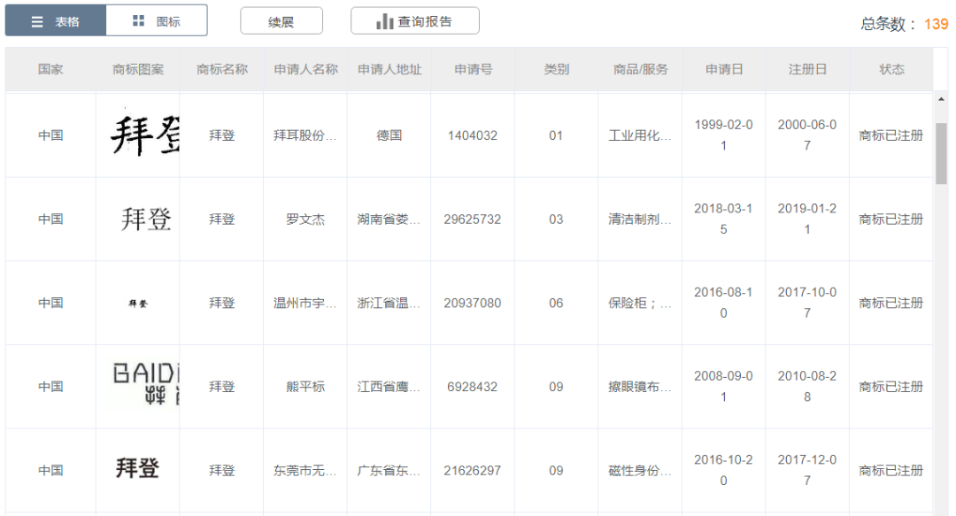
近日,美国总统换届大选如火如荼的进行着,各大媒体也是紧锣密鼓的追踪报道,就连特朗普和拜登二人的中文音译名称也已被众多公司和自然人选作商标进行注册申请,可见热度之高。笔者今天也正是想借此机会跟大家讨论一下公众人物的姓名可否作为商标保护。《商标法》第三十二条前半段规定:申请商标注册不得损害他人现有的在先权利……。他人现有的在先权利包括——字号权、著作权、外观专利设计权、姓名权、肖像权、商品化权以及其他应予保护的合法在先权益。而关于姓名权,《商标审查及审理标准》中也明确规定:未经许可,将他人的姓名申请注册商标,给他人姓名权可能造成损害的,系争商标应当不予核准注册或者予以无效宣告。而他人姓名同时包括本名、笔名、艺名、别名等。此外,《商标法》第十条第一款第(八)项规定:有害于社会主义道德风尚或者有其他不良影响的标志不得作为商标注册和使用。将政治、经济、文化、宗教、民族等领域公众人物姓名等申请注册为商标,属于上述所指的“其他不良影响”。以特朗普和拜登姓名为例,笔者查询了康信IP平台,其商标注册信息如下:而大家都知道特朗普是于2015年6月以美国共和党人身份宣布参选美国总统,后于2016年11月当选成为美国第45任总统的。那么我们来看看2015年前后其姓名被获准注册的情况。2015年以前的注册基本都被获准注册,部分已注册商标已被他人申请撤销:
而2015年以后申请注册商标就没那么幸运了,基本都被国知局主动驳回:

而如下这件今年10月刚刚提交的申请,笔者相信大概率也不会被核准:
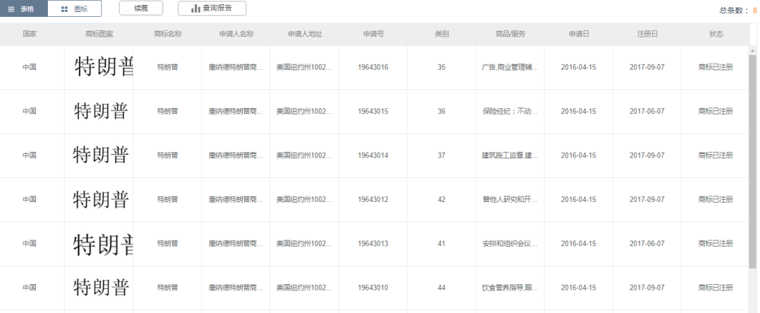
那么问题就来了,为什么2015年以前,特朗普的姓名可以被他人作为商标进行注册呢?这就要说到上面我们所指的《商标法》第三十二条的适用要件了,在特朗普竞选美国总统之前,很多人并不知道他是谁,也就是说在相关公众的认知中,“特朗普”这三个字并没有具体的指向性,也更不会有所谓的“造成损害”的可能性。而特朗普成功竞选后,一提到这三个字,所有人都知道这是现任美国总统,而众所周知,特朗普又是商人起家,任何人注册其名字都有可能损害其本身就具有的商业利益。不过不得不说,特朗普对于自身的品牌保护意识也是非常强悍的,早在2008年就以自己名义或者其经营公司的名义申请注册了“特朗普”相关商标:
当然其本人将自己的姓名申请注册为商标进行使用是完全没有问题哒。
笔者也查询了是否有申请人注册申请“特朗普”商标被驳回后又执着于申请复审的,还真有这种头非常硬的朋友,佩服!我们也来看看国知局的驳回理由吧:商评字[2018]第0000100460号关于第22322256号“特朗普”商标驳回复审决定书申请人因第22322256号“特朗普”商标(以下称申请商标)不服商标局的驳回决定,向我委申请复审。
申请人复审的主要理由:申请商标不会对我国社会公共利益产生消极、负面影响。不应当认定为《中华人民共和国商标法》第十条第一款第(八)项规定的“不良社会影响”。已有类似商标获准注册。综上,请求对申请商标在全部复审商品上初步审定。
我委认为,申请商标“特朗普”为美国现任总统的名字,作为商标使用易产生不良影响,违反了《中华人民共和国商标法》第十条第一款第(八)项的规定。申请人列举的其他商标获准注册的情况与本案无关,不能成为申请商标的应获得注册的当然理由。
依照《中华人民共和国商标法》第十条第一款第(八)项、第三十条和第三十四条的规定,我委决定如下:
申请商标在复审商品上的注册申请予以驳回。
我们看到,国知局上述裁文里并没有援引第32条关于姓名权的理由,而是引用了第十条第一款第(八)项的“不良影响”,所以老铁审查也没毛病!简而言之,“姓名权”虽然是公民的一项基本人身权利,但是就《商标法》层面而言,对姓名权的保护还是有一定要求的。那么现在,你的姓名是否被他人未经授权注册成为商标了呢?
关键词:
商标法,姓名商标,商标,抢注商标,康信知识产权,知识产权
康信:
北京康信知识产权代理有限责任公司于1994年成立, 是一家能够提供全方位知识产权法律服务的机构,总部设在北京,在西安、德国、美国、日本设有办事处。康信现有员工400余名,其中包括经验丰富的律师、专利代理人、商标代理人和专业技术人员220余名。康信公司的PCT申请代理量位居全球第四,中国区第一。
咨询电话:
010-56571588