根据国务院深化“放管服”改革有关要求,为进一步向社会公众提供高效便捷的专利查询服务,2023年2月1日12时新版中国及多国专利审查信息查询系统已正式上线,目前已结束试运行阶段,后续专利相关信息均在此官网更新查询。
新版中国及多国专利审查信息查询系统官网:
https://cpquery.cponline.cnipa.gov.cn
自新查询系统上线以来,很多申请人应该已经亲身体验过该系统的便捷性和实用性。本文旨在分享自新查询系统上线以来,查询费用信息部分所遇到的问题以及系统带来的优势。
首先,让我们来看看使用新查询系统,在查询费用信息方面可能会遇到的问题。
针对处于宽限期,已产生滞纳金的案件,查询费用信息时应缴费界面不显示当年年费,却显示下一年年费。如下图所示,已缴费信息显示第5年年费已缴纳,应缴费信息显示第7年年费未缴,第6年年费信息从已缴费和应缴费信息处无法直观的看出。在滞纳金信息处,可看出案件需补交当前年费金额和应缴滞纳金金额,可推算出需缴纳的是第6年年费和滞纳金。



因此,对于案件状态为“等年费滞纳金”的案件,需要大家着重注意,避免误以为已缴费而导致专利失效的情况发生。
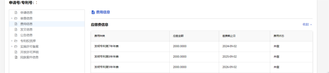
另外,针对一次性缴纳多年年费的专利,及提前缴纳当年年费的案件,专利局会在临近绝限时扣款,因此会在已缴费信息及应缴费信息均显示当年年费,如下截图显示:


对于此类情况,请权利人放心,该年费均已成功缴纳,专利局会在绝限临近时正常扣除款项,随后专利审查信息系统会更新应缴费信息至最新年度。若权利人仍有疑虑,则可在绝限当天登录系统查询法律状态。
虽然新查询系统在使用时会遇到这些问题,但其在查询费用信息方面有着非常显著的优势。
1、新查询系统页面简单清新,对于登录进网站的用户来说简单明了,可以根据已有信息快速检索到相关专利。
2、针对费用信息部分,新查询系统更新及时,用户可以随时随地获取最新的费用信息。这在紧急情况下尤为有用,用户可以快速作出决策或调整缴费策略。
3、专利缴纳年费后会在查询系统更新并下发收据,我们可能会遇到一个案件重复缴纳同一年年费的情况,遇到这种情况时,旧查询系统只显示已缴费信息(以哪一方名义缴费则显示该缴费人),如果双方都以专利权人名义缴费,则无法判定缴费人姓名,相关退费事宜也就无从下手。而新查询系统则完美规避这一问题,缴费后会同时显示缴费人姓名及收据抬头,使用户更清晰明了地了解缴费信息,如下截图显示:

综上所述,尽管新查询系统在查询费用信息方面可能会遇到一些问题,但其带来的优势是显而易见的。该系统的便捷性、实时性等功能,使得用户能够更加高效地获取和利用费用信息。相信后续会不断完善,为广大用户提供更优质便捷的查询服务。