
摘要
现有技术中是否存在技术启示是权利要求创造性判断的关键,也往往是争议焦点。本文结合一案例,从现有技术相互结合的可能性这一角度论述是否存在技术启示使得本领域技术人员有动机结合现有技术以获得要求保护的发明。
关键词: 现有技术 三步法 动机 创造性 技术问题
一.引言
根据《专利审查指南》,判断要求保护的发明相对于现有技术是否显而易见,通常可按照以下三个步骤进行。
(1)确定最接近的现有技术
(2)确定发明的区别特征和发明实际解决的技术问题
(3)判断要求保护的发明对本领域的技术人员来说是否显而易见
在该步骤中,要从最接近的现有技术和发明实际解决的技术问题出发,判断要求保护的发明对本领域的技术人员来说是否显而易见。判断过程中,要确定的是现有技术整体上是否存在某种技术启示,即现有技术中是否给出将上述区别特征应用到该最接近的现有技术以解决其存在的技术问题的启示,这种启示会使本领域的技术人员在面对所述技术问题时,有动机改进该最接近的现有技术并获得要求保护的发明。如果现有技术存在这种技术启示,则发明是显而易见的,不具有突出的实质性特点。[1]
可见,在判断过程中,需要从整体上对现有技术进行考量,确定其是否存在技术启示,使本领域技术人员有动机对现有技术做出改进,并最终获得要求保护的发明。
实践中,现有技术中是否存在技术启示往往是争议的焦点。本文结合一案例,从现有技术相互结合的可能性这一角度论述是否存在技术启示使得本领域技术人员有动机结合现有技术以获得要求保护的发明。
二.案例
该案涉及一行政诉讼案,案情如下:
(一):复审决定所针对的权利要求1如下:
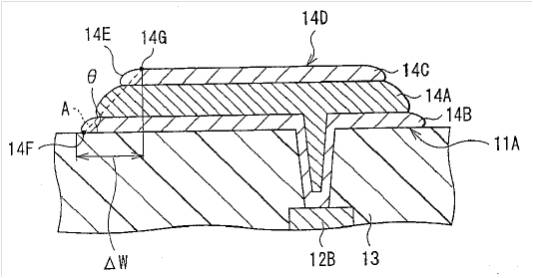
1. 一种层叠反射结构,其提供在具有平坦表面的基板的表面上,其通过层叠多个层来形成,且在层叠方向上它的横截面形状是一个由绝缘层覆盖的圆角凸起形状,所述的多个层包括一由银或含银合金制成的银层、一提供在所述平坦表面与所述银层之间的粘合层和一保护所述银层的阻挡层,所述阻挡层提供在所述银层的表面上,…。

图1 (本发明)
(二)复审决定意见:
复审决定认为,对比文件1中披露了一种层叠结构(如图2所示),权利要求1与对比文件1的区别技术特征在于:1)在层叠方向上它的横截面形状是一个圆角凸起(如图1中14A、14B、14C所指的部位);2)…。基于上述区别特征,权利要求1相对于对比文件1实际要解决的技术问题是:改善沉积在层叠结构上的绝缘层或保护层的粘合作用。
然而,对比文件2披露了一种层叠电极结构,其在层叠方向上是前向的锥形(如图3的200s所指)。该特征在对比文件2中的作用是改善沉积在叠层结构上的绝缘层或保护层的阶梯覆盖。根据对比文件1的启示,本领域技术人员很容易想到对层叠结构的横截面形状进行调整,将层叠结构的侧壁面的平面形状调整为圆角凸起的形状,这种调整不需要付出创造性劳动,并且也没有带来预料不到的技术效果。
主要基于上述理由,认为权利要求1相对于对比文件1、2和公知常识的结合不具备创造性。
申请人对复审决定不服,向法院提出行政起诉请求。
(三)一审法院意见
一审法院在判决书中指出:虽然原告认为本领域技术人员即使采用对比文件2所述方法蚀刻对比文件1的层叠结构,也难以预测横截面形状,因此本领域技术人员不可能想到将对比文件2的形成前向的锥形截面方法应用于对比文件1的层叠结构中。但本申请权利要求1所要求保护的系一种结构组成,而非制造方法和工艺。因此,原告的该项理由缺乏依据,本院不予支持。

图2(对比文件1)

附图3(对比文件2)
(四)原告意见:
原告对一审判决不服,提出上诉,部分理由要点如下:
本发明涉及一种适于作为反射电极的层叠结构及其制造方法,解决的技术问题是:为减少层叠机构的光损失,用银或其合金制作反射电极,但需在银上提供缓冲薄膜层以抑制Ag的腐蚀,由此用常规的湿法刻蚀难以获得满意图案。
对比文件1涉及多层导电膜,其主要目的在于提供一种存储稳定性高不易随时间退化的导电膜。其主要是通过在银基膜上施加初级氧化物材料以及至少一种次级氧化物材料作为透明电极层而实现的。
对比文件2涉及TFT液晶显示器装置,旨在通过防止堆叠的线部分中断或造成短路等缺陷来提高成品率。其是通过使不同的层处于不同腐蚀电位,从而实现不同层有不同的蚀刻率,形成锥形端面,实现阶梯覆盖。
上诉人认为,本领域技术人员没有动机结合对比文件1和2,理由如下:
对比文件1和2未给出相互结合的启示,而且即使二者结合也难以合理预期得到权利要求1的技术方案。
复审决定以及一审判决中,对于上述区别特征1)分两步来论述,第一步是找一个中间的过渡特征,即锥形形状;第二步将锥形形状调整为圆角凸起。
首先,对于第一步来说,对比文件1、2中整体上未给出相互结合的启示。
对比文件1和2存在显著差异(后面详述),本领域技术人员面临多重技术障碍将二者结合,这阻却本领域技术人员产生将对比文件2的特征应用于对比文件1的层叠结构的动机。
上诉人认为,不能仅仅根据对比文件2中的锥形截面就认为能够将其结合到对比文件1中。半导体领域中,对于期望获得的特定的截面形状,不同的层叠结构(材料、结构各不相同)往往对应于不同的蚀刻方法,即便采用相同的蚀刻方法,也难以获得相同的横截面形状。
具体来说,对比文件1和2所公开的层叠结构在层数、各层的材料、采用的蚀刻剂以及最终得到的横截面形状等方面均不同。例如,对比文件2中的两层为不同材料,分别设置不同的腐蚀电位,以实现不同的蚀刻速度。而对比文件1中为三层结构,若将形成对比文件2的锥形结构的方法应用到对比文件1中,如何设置腐蚀电位?采用何种蚀刻剂才能获得预期的形状?如何设置其他参数?这些问题都是本领域技术人员无从知晓的。
本领域技术人员知晓,由于蚀刻工艺的复杂性,为了实现特定的形状,需要满足严格的蚀刻条件。由对比文件2中的描述可知:即便是为了简单地控制侧壁的锥形角度,也必须改变很多参数,例如层叠结构的组成、每一层的厚度、蚀刻剂的种类等等。
考虑到对比文件1和2各自针对的技术问题及其技术方案的显著区别,本领域技术人员意识不到用对比文件2的特征来改进对比文件的技术方案的必要性。退一步说,即使将二者结合也难以预测能够得到具有“向前的锥形”的横截面,更谈不上获得“圆角凸起”。
其次,对于第二步来说,从锥形到圆角凸起:
不同于机械领域,半导体器件形状的改变需要非常复杂的工艺,不是想要获得何种形状就能够很容易地实现的。不能脱离具体的工艺水平,复杂程度,简单生硬的进行结合。而且现有技术未披露过圆角凸起形状,自然不会是公知常识,真的是公知常识的话,应该是俯首皆是。
此外,上诉人提供了两份证据,表明湿法蚀刻会使得对比文件1中形成凹的而不是凸起的形状。所以,采用对比文件1和2中的湿法蚀刻技术是无法获得权利要求1中所限定的这种圆角凸起形状的,甚至锥形形状都无法获得。再退一步说,假设结合后获得了锥形形状,将锥形形状调整为圆角凸起形状,也是极其困难的。
针对一审判决中的观点,上诉人认为,本领域技术人员基于对比文件1的教导,如果试图结合对比文件1和2以获得权利要求1要求保护的结构,必然面临如何结合的问题,也就是说,必然要面临采用何种工艺实现该结构的问题,而不能脱离对比文件的教导凭空得到权利要求的方案。因此,认为不需要考虑工艺是不合理的。
尽管申请人提出了非常详尽的理由,二审法院依然以与一审法院类似的理由维持驳回决定。
三.对该案例的一些思考
(1)该案的争议焦点主要在于对比文件1和2中是否给出了相互结合以得到本发明权利要求1的技术方案的启示。更具体说,虽然权利要求1请求保护一种产品,其中限定了结构组成,但是考虑对比文件1和2的结合可能性时是否要考虑制造方法和工艺。
一方面,笔者认为,审查指南中明确规定的是:判断是否显而易见的过程中,要确定现有技术整体上是否存在某种技术启示,会使本领域的技术人员在面对所述技术问题时,有动机改进该最接近的现有技术并获得要求保护的发明。
需强调的是,此处明确规定了“获得”,所以必须要考虑其结合的可能性,即,能够合理预期在结合后得到所要求保护的发明。如果基于现有技术的教导,结合后难以或者根本无法获得要求保护的发明,则不能认为技术方案是显而易见的。不考虑后果的动机不是专利法意义上的动机,只能是空想。专利法意义上的动机至少意味着这种对最接近现有技术的改进能够合理预期得到所要求保护的发明。
在技术启示的判断中应:抛开本发明的方案,回到申请日前,以本领域技术人员的知识和能力并以最接近现有技术为起点进行判断。综合考虑现有技术的技术领域、所解决的技术问题、采用的技术手段、产生的技术效果等,才能得出比较客观的判断结果。
对于该案例来说,两篇对比文件各自均披露了一种层叠结构,二者具有不同的截面形状,如果对于机械领域的两个零件来说,可能直接根据一个截面的形状对另一个截面的形状进行修改,并在此基础上进一步调整。然而,对于工艺非常精密的半导体领域来说,其设备昂贵、制造工艺非常复杂,对其制造工艺的改进可谓牵一发而动全身。对于通过不同工艺、不同材料、不同蚀刻剂而得到的两种截然不同的结构而言,一般来说,本领域技术人员难以有动机仅仅根据一个截面的形状而直接考虑改进另一个截面的形状。所以说,不能简单地拼凑现有技术来否定创造性。
另一方面,如本申请说明书中所述“使用常规的用于将银图案化的湿式蚀刻技术,第一电极满意的图案化变得困难。原因是在银层与缓冲薄膜层的蚀刻速率之间有差值,以至于只有在银层中的蚀刻可以迅速的进行。当第一电极的形状不合格时,覆盖第一电极侧表面的绝缘膜就会沉积失败或成孔,导致引发有机发光元件的缺陷。用于银的干式蚀刻技术至今没有进展。”
本发明充分考虑到现有的湿式和干式蚀刻的缺陷,选用适当的蚀刻气体,控制气体流量,对各个层同时进行干式蚀刻,实时监控截面的形状,并及时对蚀刻参数进行调整,由此实现了圆角凸起的截面形状。而且形成的圆角凸起与锥形横截面相比具有更好的改善沉积在该层叠结构上的绝缘层或保护层的粘合作用。
可见,本申请通过采用上述技术手段,克服了现有技术中的技术难题,取得了显著的技术效果,不付出创造性劳动是不可能实现的。
综上所述,在考虑本领域技术人员是否有动机对现有技术做出改进时,应整体上把握现有技术,来判断基于现有技术的教导,是否会产生引入区别技术特征以达到解决技术问题目标的合理的成功预期,从而获得进行有目的尝试的动机。此外,还需要充分理解本发明的发明构思。
(2)尽管论述了以上理由表明权利要求1技术方案的非显而易见性,但对于本申请来说,其自身撰写也确实存在一定缺陷,对于权利要求1中的关键区别技术特征“圆角凸起”,仅仅显示在一副附图中作为本发明的一个实施例,说明书中未做具体描述,即未具体描述如何得到该形状,以及该形状带来何种技术效果。这应当也是导致该权利要求的方案被认为没有产生预料不到的技术效果,从而不具备创造性的一个因素。如果说明书中描述了获得该形状的详细工艺步骤及其产生的技术效果,则对于争辩权利要求的创造性将会有较大的帮助。因此对于说明书的撰写来说,该案也提供了值得反思的一些教训。
四.总结
创造性的判断是一个复杂且带有较强的主观性的过程,可谓仁者见仁智者见智;三步法的引入能够尽可能地减小主观因素的影响。另外,从整体上把握现有技术,考虑现有技术结合的可能性,将会有助于创造性的判断取得更为客观的判断结果。
以上仅是笔者代理实践中的一点感想,不当、偏颇之处在所难免,望不吝指正。
参考文献
1.国家知识产权局,《专利审查指南(2010)》,北京,知识产权出版社,2010年,第二部分第四章3.2.1.1,(P172-173)。



