
摘要:本文提出了一种新的关于专利申请文本中的技术方案是否具有创造性的评价方法,该方法根据模糊数学原理,采用定量到定性的研究手段对实际中关于创造性的评价过程进行修正,采用本文的评价方法能够避免人为主观因素对评价结果的影响,使得通过该评价方法得出的结果更具有客观性。
1 前言
一项发明申请要获得专利权,则该发明申请必须具备专利法中规定的创造性的要求。在现有的审查制度中,申请人向国家知识产权局提交一项发明专利需要经过国家知识产权局初审和实质审查阶段,当申请文件满足审查标准后,国家知识产权局会根据专利法授予申请人专利权证书。
然而,一项发明专利要获得专利权,其必须满足专利法规定的创造性。该审查过程是在实质审查阶段完成的。当然,在评价一项专利是否具备创造性不仅限于实质审查阶段,例如在无效宣告程序中也会涉及到对专利申请的技术方案的创造性进行评价,涉及到的专利类型包括实用新型专利和发明专利。目前关于创造性的评价,行业内都采用“三步法”审查方式。然而,在使用三步法的过程中,由于涉及到对最接近的现有技术的确定、对技术方案是本领域的技术人员是否存在技术启示等判断过程都掺杂着人为主观因素,使得申请人对最终的评价结果不是很认同。
2 创造性评价指标体系设计
为了提高对专利是否具备专利法规定的创造性的评价结果的可信度,本文采取从定量到定性的研究方法对一项发明申请是否具备创造性的问题进探讨,并对目前实操中对发明申请的创造性的评价过程进行重新审视,试图寻求一种合理的、科学的、新的关于发明申请的创造性的评价模型以提高评价结果的可信度和真实性。
在实际使用三步法的实操过程中主要包括以下三个步骤:
(1):确定最接近的现有技术;
(2):确定发明的区别技术特征和发明实际解决的技术问题;
(3):判断要求保护的发明对本领域技术人员来说是否显而易见。
在步骤(1)中,确定最接近的现有技术是审查员基于申请人提供的申请文本中对现有技术进行检索而确定出来的,而在检索过程中,检索的质量跟审查员的自身审查经验有关,跟审查员构建的检索领域是否全面有关、跟审查员构建的检索式是否合理有关。换言之,在确定一项发明申请的最接近的现有技术是在审查员的自身审查经验、检索领域、检索式等不确定的影响因素的相互作用下获得的,而这些不确定的影响因素都存在人为的主观性,这也是在答复审查意见的实操中经常遇到审查员会更换最接近现有技术的原因之一。
在步骤(2)中,通过将最接近的现有技术与发明申请的技术方案进行特征比对得出。在比对的过程中,审查员往往只是针对技术特征的个数进行比对,而却忽略了技术特征与技术特征之间的联系,例如在机械领域,经常会遇到在最接近的对比文件中也公开了“连杆机构”,在发明申请的技术方案中也包括“连杆机构”(至于该连杆机构是否是常规暂且不提),关于这样类似的技术方案,审查员经常会得出:因为连杆机构都是起连接作用的,所以发明申请中的连杆机构被最接近的现有技术公开。从而发明申请中的“连杆机构”不被列入区别技术特征中。虽然最接近的现有技术中和发明申请中都叫做“连杆机构”,事实上,该连杆机构与其他部件具体是怎么连的,怎么实现作动的完全被审查员忽略。换言之,在确定区别技术特征的过程中,审查员容易脱离技术方案的整体,单独对部分的技术方案进行评述。所以,在确定区别技术特征的过程中也受到了审查员主观因素的影响,容易造成技术特征碎片化、技术效果认定随意等缺陷。
在步骤(3)中,该步骤是得出发明申请是否具备创造性的最关键的一个步骤,该步骤也是受审查员主观因素影响最严重的一个步骤。事实上,步骤(3)是基于步骤(1)和步骤(2)之后执行评价的,即步骤(3)在执行评价的过程中与前两个步骤是“并”的关系,只要前两个步骤中任何一个步骤出现了偏差,执行步骤(3)毫无意义。而在实操过程中,最难把控的是当发明申请的技术方案解决的技术问题与最接近现有技术解决的技术问题相同,但技术手段不同时,往往会涉及到现有技术是否给出了采用发明申请的技术方案该技术问题的技术启示的判断(即是否有动机的判断)。
进一步地,在很多审查意见通知书中,当某一个技术特征没有被最接近的现有技术公开,审查员也没有找出该特征在现有技术中的使用证据,通常会以该技术特征为本领域的常规设置、容易想到或惯用手段等理由进行评述。即在步骤(3)的执行评价过程中,把该过程说是审查员评着“感觉”得出的是不为过的。如果将影响审查员在步骤(1)中的不确定因素记为A1,把影响审查员在步骤(2)中的不确定因素记为A2,把影响审查员在步骤(3)中的不确定因素记为A3,如下图1所示,在每一步骤中的不确定性因素在整体上会将评价结果的评价值P’以指数形式的误差背离真实值P。而造成这样的原因主要是由于在评价的过程中对各个预判指标的不确定性和人为的主观臆断性引起的。

图1 影响因子与评判结果关系图
毛泽东主席曾经说过“感觉只解决现象问题,理论才解决本质问题。”,而王利民教授在“论法律思维”一文中又指出:如果法律思维仅以逻辑思维为重心,就会变成机械法学,使法律脱离社会现实。为了避免法律脱离现实又能够解决本质的问题,本文采用模糊数学理论对创造性进行定量到定性的研究,使得在实操过程中既有理论依据也提高了评价结果的可信度,即采用定量到定性的研究方法对创造性进行研究,使得该结果即有理论可循又不会使得法律脱离社会现实。
本文主要采用模糊数学理论中的模糊多级综合评价模型对发明申请是否具备创造性进行评述,模糊数学又称fuzzy数学或模糊性数学,主要研究和处理世界中不分明和模糊现象的一种数学理论和方法。首先提出模糊数学理论的是1965年加利福利亚大学的L.A.查德教授[1]发表题为Fuzzy sets的论文,同时也标志着这门科学的诞生。
产生的原因:当今社会创造的产物中最具特色的应该是数学的产生和数学的物化产物——电子计算机的出现。然而现今的对计算机的研究远不止于这些,人们将进一步利用计算机研究模拟人脑的智能问题,这又将进一步刺激着数学理论的变革。经典数学的一大特色是其具有的精确性,而经典数学在过去的几十年的理论和实践中同样造就了无数令人惊叹的宏伟精美大厦。然而,随着计算机科学的迅猛发展和现代科技所面对的系统复杂程度日益加深,使得之前的经典数学在解决这一类问题上力求精确似乎已力不从心,经过学者们的研究一致性认为出现这种情况的主要原因是随着系统复杂程度的加深,处理各个问题的模糊性就越难给出精确的判断,也就是L.A.扎德教授的互克性原理:“当系统的复杂性日趋增长时,我们作出系统特性的精确然而有意义的描述的能力将相应降低,直至达到这样一个阈值,一旦超过它,精确性和有意义性将变成两个几乎互相排斥的特性”。所以各门学科特别是社会科学、人文科学和其他软科学类学科在研究某一事物从定性再到定量研究的过程中,就必须研究和处理该系统中研究对象的模糊性问题,这就把模糊数学理论研究问题推向了各学科研究领域的中心问题。
模糊数学主要研究内容为模糊数学理论以及它和精确数学、随机数学之间的关系、模糊语言和模糊逻辑以及模糊数学原理的应用。模糊数学经过半世纪的研究和发展,已经应用于模糊控制、模糊聚类分析、模糊识别、模糊决策、模糊评价、系统理论、医学、生物学、气象、结构力学、控制、心理学、信息检索、计算机智能、地震预测、遥感遥测、知识工程、语言加工、图像诊断、环境保护、哲学以及工业上的勘矿取矿、隧道勘探等科学技术领域,而且都取得了惊人的成果。
为了能够准确地对发明申请是否具备创造性的评述更加可信,根据专利法的规定以及结合国家知识局的审查标准,建立以下指标体系:

图2 评价指标体系图
3 构造评语集和评价矩阵

3.1构建评价模型
3.1.1一级综合评价

3.1.2 二级综合评价

3.1.3 三级综合评价

4.实证研究
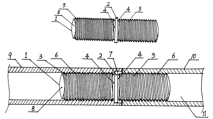
案情:申请文件(CN1380151A)为公开日2002年11月20日的实用新型授权专利,申请文件(CN1380151A)的权利要求1的技术方案(以下简称申请文件)如下:
1、直管式连接器,其特征是:其由空心直管机体(1)构成,该直管机体(1)的中部形成环型介子(2),至少有一自由端至环型介子(2)之间设置外螺纹(3),该外螺纹(3)与被连接件的内螺纹吻合,环型介子(2)与被连接件内管臂的环型凹槽吻合。
申请文件的说明书中记载:与现有技术相比,本申请的技术方案在直管机体的中部设置的环型介子(2)与被连接件内管壁的环型凹槽吻合,连接件完全由被连接件覆盖,连接处基本看不到连接缝隙和空隙,相当于无缝管的无限延伸。
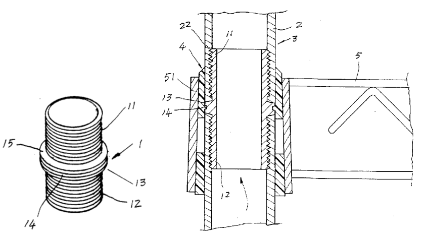
无效宣告请求人提供的证据包括以授权公告为1999年7月21日的对比文件(CN982028830),请求人认为申请文件相对对比文件不具备创造性。

图3 申请专利附图
1、空心直管机体;2、环形介子;3、外螺纹;4、环形凹槽;6、内螺纹;7、环形凹槽;8、孔;9、管件;10、管件;11、可拆卸式连接管。

图4 对比文件附图
1、组合管件;2、竹节管件;3、支柱;4、衬套;5、置物层;11、螺纹部;12、螺纹部;13、凸缘部;14、环槽;15、底面;22、内螺纹;51、套环。
4.1制定专家调查表


4.2构建模糊集:

图5 评价指标体系权重图
根据图5中的构件的评价指标体系图,采用专家调查法给个因素赋值并制定特征对比表(特征比对见图3和图4,具体特征对比表略),建立模糊集:

5.结论
事实上,在复审委维持该申请文件具有创造性的前提下,请求人向北京第一中级人民法院提起了行政诉讼,经北京第一中级人民法院审理后,认为专利复审委员会作出的第9915号决定认定事实清楚、适用法律并无不当,维持了该专利申请具有创造性的决定的判决。即采用该方法同样能够对专利申请文件的技术方案的创造性进行准确评价。
采用本文中的评价方法具有如下优点:
避免了实际评价过程中人为主观因素的影响,使得通过本文中的评价方法得出的评价结果更具有客观性。同时,由于在该评价过程中采用了专家调查法(建议专家人数至少3人)给予各影响因子赋权重,避免了在实际中在实质审查阶段只有一个审查员“一查到底”的弊端。
值得注意的是,在本评价方法中,当的评价结果为可能具有创造性时,建议针对该申请文件组成5人以上合议组进行讨论并作出决定。即采用本文中的评价方法可以将实际中的复审阶段的工作前置,极大的节约了专利申请文本的审查工作。
参考文献
[1] 国家知识产权局专利复审委员会.机械领域复审、无效典型案例汇编[M].知识产权出版社,2009.
[2] 李越,冯涛,邹凯,李瑛琦.问题导向下的我国创造性评判标准研究[J].中国专利与商标,2017,27(2-3).
[3] 王景,丰佩印.模糊多级综合评判在专利资产评估中的应用[J].科技与经济,2014,27(3): 46-50.
---------------
[1] L.A.查德教授俄罗斯巴库出生的伊朗人,自动控制论专家、应用数学家。



