
高质量的审查意见答复在提升发明专利质量方面起到非常重要的作用。审查意见答复阶段对申请文件的修改,直接决定着专利授权之后的保护范围。基于对专利法、专利法实施细则和《审查指南(2023)》中关于审查意见答复阶段对申请文件进行修改的规定的研究,结合代理实践案例,总结分析申请文件的修改中容易被忽略的修改方式以及处理方式。容易被忽略的修改方式包括从属权利要求中部分技术特征的并入、说明书附图中的示出内容的并入;容易被忽略的处理方式包括多次修改时上一次修改内容保留与否的评估、多个实施例的处理。
一、相关法律规定
专利法、专利法实施细则和《专利审查指南(2023)》(以下简称《指南》)中均对审查意见答复阶段对申请文件的修改作出了规定,其中:
☆《专利法》第三十三条给出了发明专利申请文件修改的总体原则,即“不得超出原说明书和权利要求书记载的范围”;
☆《专利法实施细则》第五十七条第三款规定了发明专利申请文件修改需要针对通知书指出的缺陷进行;
☆《指南》在其第二部分第八章第5.2.1.3部分进一步给出了不符合规定的修改方式。
然而,满足专利法和专利法实施细则的相关规定且不属于《指南》所列举的情形仅为审查意见答复阶段对申请文件进行修改的基本要求。专利保护需要平衡专利权人/申请人的利益和公众的利益,在代理实践中,如何在法律法规的要求下,为申请人争取到合理的保护范围则是专利代理师在对申请文件进行修改时的重要工作职责[1]。
二、常规修改方式
在代理实践中,为了克服通知书中指出的缺陷(一般为新颖性和/或创造性),一般采用以下常规的修改方式:
(1)将一条或者多条从属权利要求的全部附加技术特征并入至原权利要求1中;
(2)将说明书文字记载的技术特征并入至原权利要求1中。
上述的修改方式适用于答复第一次审查意见通知书,也适用于答复后续的审查意见通知书。答复后续通知书时,如果修改文件未得到审查员的认可,或者审查员进行了补充检索,在常规修改方式中,专利代理师一般会继续对权利要求1进行进一步限定,并入从属权利要求特征或者说明书特征。
除了上述常规修改方式,还有一些其他修改方式和处理方式,容易被申请人和专利代理师所忽略,下面将结合实践案例对这些修改方式进行说明。
一、将一条或者多条权利要求中的部分技术特征并入至权利要求1中
在根据权利要求书的记载内容进行修改时,常规的修改方式为将一条或者多条从属权利要求的全部附加技术特征并入至原权利要求1中。然而,这种修改方式可能会使得修改后的权利要求1包含非必要技术特征,对其保护范围造成不必要的缩限。
以下,结合案例1对上述的常规修改方式可能存在的问题进行说明并给出建议的修改方式:案例1涉及一种油层中夹层的改进方法,其背景技术为在采油的过程中,油层中发育出的连续夹层会阻碍油的下泄,而本申请的核心发明点则是通过对该夹层进行改造使其产生裂缝,以使得油能够通过裂缝下泄。
审查员给出的对比文件中,所改造的对象则是油层中非连续发育的夹层(也即零散分布在油层中的小块的夹层结构)。本申请的改造对象和对比文件中的改造对象具有较大的差别,无法直接将对比文件中的改造方法直接应用于本申请的具有一定厚度的连续夹层。
因此,该案件的答复思路为:强调本申请中的待改造夹层和对比文件中的待改造夹层不同,进行权利要求书的修改时则需要将从属权利要求中能够体现“夹层为具有一定厚度的连续夹层”的相关技术特征并入至权利要求1中。
具体地,在本申请中,关于“夹层为具有一定厚度的连续夹层”的相关限定记载在原权利要求6中,具体为“所述夹层(3)为所述油层中连续发育的夹层,所述夹层的厚度>1m”。
除了上述内容,原权利要求6还限定了“所述油层的埋深<800m,地层温度下的原油粘度>5万厘泊,所述油层的厚度>12m,含油饱和度>0.5,所述油层的渗透率>200mD,所述油层的孔隙度>0.2。”
如果按照常规修改方式,在对权利要求书进行修改时,将原权利要求6的内容全部并入至原权利要求1中,这样无疑会导致专利申请的保护范围缩小,因为油层的埋深、地层温度下的原油粘度等内容与“夹层为具有一定厚度的连续夹层”之间关联非常小。
因此,进行权利要求书的修改时,只需要将权利要求6中的“所述夹层(3)为所述油层中连续发育的夹层,所述夹层的厚度>1m”并入至原权利要求1中即可,并不需要将权利要求6全部并入。
除了案例1中所涉及的情形,在代理实践中还存在以下两种类似情形,也可以参考案例1的处理方式进行修改:
情形一:
与现有技术能够区别开的技术特征记载在不同的从属权利要求中。此时,建议仔细判断是否需要将这些从属权利要求的全部特征并入,还是可以选择部分能够起到关键性作用的特征并入即可。
情形二:
拟并入特征的从属权利要求(其包含能与现有技术区别开的技术特征)引用了另一条从属权利要求。考虑到引用关系,常规修改方式是将被引用的从属权利要求一同并入,为了避免不必要地缩小保护范围,如果不存在缺乏引用基础的缺陷,可以考虑不并入或者部分并入被引用的从属权利要求,仅并入能与现有技术区别开的技术特征即可。
二、将说明书附图中的示出内容并入至权利要求1中
申请文件在前期撰写时,会出现部分创新点仅在附图中示出,而并未在权利要求书和说明书的文字部分中记载的情况,并且在后续答复审查意见时,发现该创新点能够令本申请与对比文件区分开。
此时,如果放弃仅在图中示出的该创新点,而根据权利要求书和说明书的文字部分记载的其他内容进行修改,则无法为申请人争取到合理的保护范围。在这种情况下应该考虑根据说明书附图的记载内容进行修改。
根据说明书附图进行修改时,将图形信息转化成文字描述的过程中,容易出现修改超范围的缺陷,这也是一些专利代理师选择放弃此种修改方式的重要原因,但上述修改超范围的缺陷在一些情况下是可以避免的。
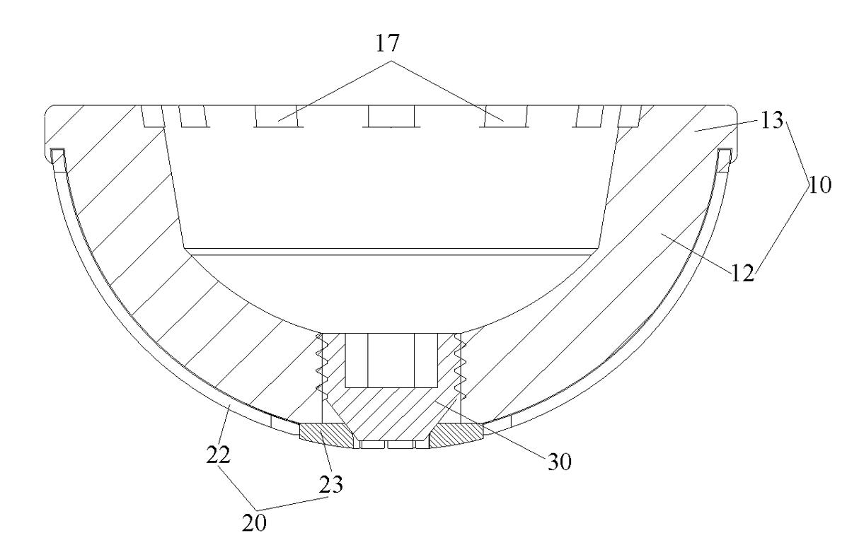
以下,结合案例2对根据说明书附图记载内容进行修改的尺度进行探讨:案例2涉及一种髋臼杯假体,其主要包括内杯体10和扩张外杯20,从申请文件的图2(见下图)中可以看出内杯体10的厚度是大于扩张外杯20的厚度的。而审查员所给出的对比文件中,也公开双层的半球状杯体结构,但是对比文件中的外杯的厚度是大于内杯的厚度的。因此,本申请中的内杯体10和扩张外杯20的厚度关系是使得本申请与对比文件区分开的重要技术特征,但是在说明书文字部分并没有相关的记载。

案例2附图2
在这种情况下,如何对上述的“内杯体10和扩张外杯20的厚度关系”进行文字总结才能够避免出现超范围的缺陷呢?
对此,《指南》中指出,由附图中推测的内容,或者无文字说明、仅仅是从附图中测量得出的尺寸及关系,不属于可以直接地、毫无疑义地根据附图确定的内容。因此,如果在修改过程中避免掉了根据附图“推测得到”和“测量得到”的情况,则属于可以接受的修改方式。
回到案例2,根据案例2的图2可以直接观察得到“扩张外杯(20)的厚度小于内杯体(10)的厚度”,而不需要进行测量或者推测,因此可以根据图2在权利要求1中增加上述的技术特征。但是,如果试图根据该图2增加如“扩张外杯(20)的厚度为内杯体(10)的厚度的N倍”或者“扩张外杯(20)的厚度比内杯体(10)的厚度小XXXmm”这样的限定的话,则属于“测量得到”的情形,这是不被允许的。
根据《指南》中的相关规定以及代理实践,在根据说明书附图的记载内容进行修改可以着重注意以下两点:
第一:定性不定量
简言之,仅限定图中能够明确看出的“内外”、“上下”、“左右”、“大小”、“高低”、“宽窄”等定性的关系,但是不要限定具体的数值。如上述的案例2,仅限定出“内杯体10的厚度比扩张外杯20的厚度大”,而不去限定“内杯体10的厚度比扩张外杯20的厚度大多少”。
此外,除了上述的限定具体数值的情况,“圆形”、“弧形”、“方形”等也是需要通过测量才能够确认的,也属于“定量”的情况,因此,在根据附图记载的内容进行修改时也需要格外注意不要出现此类的限定。
第二:特征命名仅考虑形态而不考虑功能
在某些情况下,会需要根据附图新增结构特征,在命名过程中注意不要出现功能性的名称。例如:在一个板状结构下方设置有用于支撑的凸起,但是文字部分并没有对该凸起及其功能进行记载,对该凸起进行命名时直接命名为“凸起部”或者“凸起结构”即可,而不要命名为“支撑凸起”。
一、多次修改时,注意每次修改需评估上次修改内容是否需要保留
在答复后续审查意见时,如果审查员并不认同之前的答复方向或者进行了补充检索,且代理师认可审查员的意见或者认为原答复方向(与该答复方向对应的修改方式称为修改方式A)不够合理的时候,可能会选择调整答复方向(与该答复方向对应的修改方式称为修改方式B)。
以下,结合案例3对这种调整答复方向时的处理方式进行探讨:案件3涉及一种电絮凝废水处理系统,在答复第一次审查意见通知时,申请人将原权利要求2、3和5的附加技术特征全部并入至权利要求1中,然而审查员并不认可新的权利要求1的创造性并下发了第二次审查意见通知书。在答复第二次审查意见通知书的过程中,申请人认为继续争辩原答复方向的授权前景并不乐观并试图更换答复方向。此时,如果在上次的修改文件的基础上进一步增加新的答复方向相关特征的话,会使得修改后的权利要求1中包含较多的与新的答复方向并不相关的特征,进而导致保护范围缩小。
基于上述的分析,在面临这样的情形时放弃修改方式A(在案例3中具体为:将原权利要求2、3和5的附加技术特征全部并入至权利要求1),并直接在原始递交文本的基础上采用修改方式B进行修改。
如此,一方面可以避免修改方式A并入的特征对保护范围造成的不必要的缩限;另一方面,相较于在修改方式A的基础上改成修改方式B,能够使得修改痕迹清晰、简洁,方面审查员阅读。
二、修改时,注意多个实施例的处理方式
当一个总的发明构思包括多个技术方案时,由于这些技术方案是相关联的,一般会选择合在一个发明中进行申请。此时,申请文件中会存在多个实施例,不同的实施例往往会对应着不同的从属权利要求。然而,如果在审查过程中发现这些技术方案的共有特征并不满足新颖性和/或创造性的要求时,可以尝试将这些实施例拆分成多个并列独立权利要求,并分别陈述每一个独立权利要求具备新颖性和/或创造性。
以下,结合案例4对这种处理方式的操作进行说明:案例4涉及一种家用电器,具体希望通过传感器判断用户是否靠近家用电器,进而通过控制器来控制家用电器的工作状态。本申请权利要求1的技术特征已经被对比文件所公开,因此权利要求1不具备新颖性。本申请的从属权利要求3和4中分别保护了两个并列的技术方案:在权利要求3中,传感器用于检测预定范围内是否有人,并根据上述检测结果进行后续的控制;在权利要求4中,在控制器内预设一个检测距离,通过传感器和检测距离判断人体是否继续靠近家用电器,并根据上述检测结果进行后续控制。
在答复审查意见的过程中,常规的处理方式是将权利要求3或4的技术特征并入至原权利要求1中,并删除原权利要求3和4,以避免后续带来权利要求不清楚的缺陷,但是这样操作会导致保护范围的缺失。
可以尝试的处理方式为将原权利要求3的特征并入至原权利要求1中作为第一个独立权利要求,并同时将原权利要求4的特征并入至原权利要求1中作为第二个独立权利要求,然后分别陈述两个独立权利要求具备新颖性和/或创造性。
需要注意的是,由于这些技术方案的共有特征并不满足新颖性或者创造性的要求,也即新拆分出来的多个独立权利要求之间是没有特定技术特征的,这种处理方式不满足单一性的要求,如果审查员在后续的通知书指出该缺陷,则需要考虑进行分案操作。
在发明专利的审查意见答复中,为了在克服审查意见通知书中指出的缺陷的同时能够获合适的保护范围,需要对专利的申请文件进行合理的修改,本文给出的几种容易被忽略的修改方式和处理方式可以供申请人和代理师参考,从而拓宽审查意见答复阶段对申请文件的修改的思路,最终有助于提高授权专利的质量。
参考文献:
[1] 陈蕾 ,孙志良. 从增加技术特征的角度浅谈修改超范围的问题[J]. 专利代理, 2024(3):105-112



